东莞市明特五金机械有限公司




13380165063

  • 返回
  • 首页
  • 栏目
  • 首页 >  新闻中心 >  行业知识

    详析深孔钻头的类型和加工范围

    2023.10.20

          上篇文章明特小编给大家介绍了深孔加工的概念及特点,现在来为大家详细说明一下关于深孔钻钻头的类型和结构,以及它们各自的加工范围。

          深孔钻按排屑方式分为外排屑和内排屑两种:外排屑有枪钻、整体合金深孔钻(可分为有冷却孔和无冷却孔两种);内排屑又分为BTA 深孔钻、喷吸钻和DF 系统深孔钻三种。深孔钻的类型和使用范围如下表所示。

         那么这些深孔钻各种钻头又有哪些特点呢?它们各自适合的加工范围又如何划分?

    1、枪钻
         枪钻因最初主要用于军事工业中枪管、炮管的加工,因而得名。枪钻是一种有效的深孔加工刀具,其加工范围很广,从模具钢材,玻璃纤维、特氟龙(Teflon)等塑料到高强度合金(如P20和铬镍铁合金)的深孔加工。在公差和表面粗糙度要求较严的深孔加工中,枪钻可保证孔的尺寸精度、位置精度和直线度。

         枪钻系统的工作原理:切削液通过尾架上的输油入口进入钻杆内部,到达钻头头部进行冷却润滑,并将切屑从钻头外部V型槽中排出,该系统主要用于小直径(孔径小于20mm)的深孔加工。
        枪钻应用范围, 枪钻(外排屑深孔钻)主要用于加工孔φ2~φ20mm、长径比L/D>100、精度在IT8~IT10之间,表面粗糙度值Ra=12.5~3.2μm的深孔,生产效率低于内排屑深孔钻。

    2、BTA 内排屑深孔钻

        由于枪钻钻杆为非对称形,故抗扭刚性差,只能传递有限的扭矩,因此枪钻只适用于加工小直径孔的零件。为适应更复杂的大直径深孔的加工要求,于是应运而生地产生了内排屑深孔钻技术。内排屑由于切屑是从钻管内排出,不与已加工表面刮擦接触,表面加工质量比枪钻加工较高,加工孔径范围也更大。

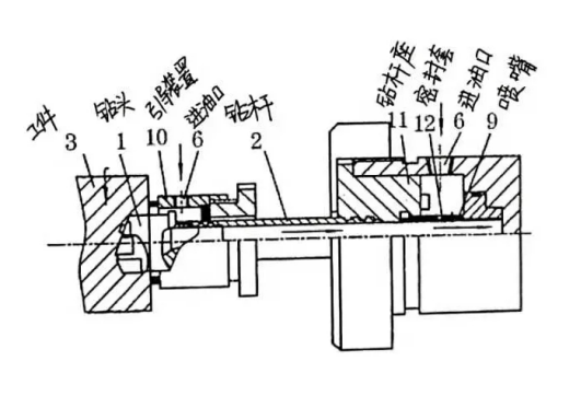
         BTA 系统中钻头与钻杆为中空圆柱体,其工作原理如图所示,切削液经加压从入口进入授油器后通过钻杆与孔壁形成的密封环状空间,流向切削部分进行冷却润滑,并将切屑压入钻头上的出屑口,经钻杆内腔从出口排出。

        内排屑示意图
         内排屑深孔钻适于加工直径20mm以上、长径比不大于100的深孔,加工精度为IT7~IT10级,加工表面的表面粗糙度Ra3.2~1.6um,生产效率是外排屑的3倍以上。
        BTA内排屑深孔钻的主要缺点
    必须使用专用的机床设备,机床还须设置一个油液切屑分离装置,通过重力沉淀或电磁分离手段,使切削液分离并循环利用。另外在切削过程中,工件与授油器之间形成一个高压区,所以在钻削之前必须在工件与授油器间形成可靠的密封。

    3、喷吸钻

         内排屑深孔钻系统存在着环形油液通道损失大的缺点,加工时需采用较高的压力和流速,为此,市场上又研制出来一种生产效率高、加工质量更好的钻削技术—喷吸钻。
         喷吸钻利用流体力学的喷吸效应原理发明的双管内排屑深孔钻削方法,其采用两根同心的钻杆,通过连接器将刀具连接到机床上,其喷吸钻系统采用双层管刀杆,切削液经加压后从入口进入,其中2/3的切削液进入内、外钻杆间的环形空间,流向切削部分进行冷却和润滑,并将切屑推入钻杆内腔。

        其余 1/3 的切削液,从内钻杆上月牙状喷嘴高速喷入内钻杆,在内钻杆内腔形成一个低压区,对携带切屑的切削液产生抽吸作用,在喷、吸双重作用下,促使切屑快速从出口排出。
        喷吸钻的供油情况是通过旋转连接器,导向座主要是支撑作用,可以不需要紧贴工件。这样对五轴加工有极大的好处。因为我们一般在五轴加工上都会碰到非平面,导向座没法紧贴工件。加上喷吸钻在加工时会产生真空效果,能达到排屑,在使用上更加灵活。
        喷吸钻的加工范围主要适用于加工长径比不超过100、直径范围在18~65mm的孔,精度在IT9~IT11级,加工表面粗糙度在Ra3.2—0.8um。
    4、DF系统深孔钻
        DF系统深孔钻又称单管喷射钻,DF为英文Double Feeder的缩写,原意是双进油装置。DF系统深孔钻是七十年代中期由日本冶金股份有限公司首先研制而成的一种孔加工刀具。它是在普通喷射钻的基础上发展而成,将普通BTA内排屑深孔钻推出切屑与喷射钻吸出切屑的方法相结合的一种加工系统。因其一个钻杆由切削液支托,振动减少,排屑空间较大,加工效率高、精度好,可用于高精度深孔加工;生产效率是枪钻的3~6倍,比BTA内排屑钻高3倍,但是使用成本较高。

        由以上的各种钻头需要的相关配置可以看出,无论哪一种排屑方式均由工件、刀具、专用辅具、机床和控制系统等要素组成。
         其中,专用辅具取决于所采取的切削液供给方式、排屑方式和工件与刀具之间的相对运动方式。可见,深孔加工需要专用设备和专用辅具,因此其设备结构复杂、成本昂贵。

    上一页 :深孔加工时的注意事项包括哪些?

    下一页:浅析深孔加工的概念及特点

    相关信息