Dongguan Mingte Hardware Machinery Co., Ltd.




+86 15362887736

  • BACK
  • MT HOME
  • Navbar
  • MT HOME >  NEWS >  Industry News

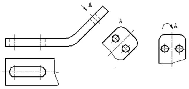
    Do you understand all the drawings of mechanical parts?

    2021.05.06

     

    Orthographic projection method

    The parallel projection method in which the projection lines are parallel to each other during projection, and the projection line is perpendicular to the projection surface.

     

    1. Basic View

     

    2. To view

     

    3. Partial view

     

    4. Oblique view

     

    5. Sectional view

     


    1) Full section view

     

    2) Half section view

     

    3) Partial cross-sectional view

     

    4) Ladder section

     

    5) Rotating section

     


    6. Sectional view

    Imagine using a cutting plane to cut the machine at a certain place, and only draw the projection of the cut surface shape and draw the figure with the specified cross-sectional symbol, which is called a cross-sectional view, which is referred to as a cross-section for short.

     

    General methods and steps to read parts drawings

    1) First look at the title bar to get an overview of the parts

    Look at the title bar to understand the name, material, and proportion of the part, so as to get a general understanding of the function of the part, and judge which type of part the part belongs to from the name. Judge the rough processing method of the part from the material. Judge the actual size of the part from the scale, so as to have a preliminary understanding of the part.

    2) Analyze the research view and imagine the structure shape

    Look at the view, analyze the configuration of each view of the part and the relationship between the views, the expression method and the content of the expression used, and use the combined reading method, the shape analysis method and the line surface analysis method to understand the structure of each part of the part. Imagine the shape, relative position and function of each part of the part.

    3) Analyze all sizes and figure out the size requirements

    Analyze the view and shape comprehensively, analyze the dimension benchmarks in the three directions of length, width, and height of the part, and then start from the benchmark, take the structural shape analysis as a clue, and then understand the shape and positioning dimensions of each shape, and clarify the role of each size. And size expresses the shape and size of the part. When reading the drawing, the view, size and shape structure should be combined for analysis.

    4) Analyze technical requirements and understand the whole picture comprehensively

    When reading the drawings, the technical requirements such as surface roughness, dimensional tolerances, shape and position tolerances should be clarified. Understand the meaning of its code names. If necessary, contact the parts related to the part to analyze together.

    Previous:Our country has built high-end machine tools with a positioning accuracy of 4μm, a repeat positioning accuracy of 2μm, and a movement acceleration of 2G.

    Next:What guarantees the machining accuracy of machine tools? Understand in seconds after reading it!

    Related Information